API Presión - Descripción de la válvula de enchufe equilibrada
El diseño central de la válvula de enchufe de presión API - se encuentra en su estructura de equilibrio de presión única -. Las válvulas de enchufe tradicionales requieren superar el empuje lateral del medio en el núcleo de la válvula en condiciones de presión - altas, lo que resulta en un aumento de la operación. En contraste, el diseño equilibrado de presión - logra la distribución de presión simétrica al incorporar orificios o cámaras de equilibrio dentro del núcleo de la válvula, lo que redirige la presión media a ambos lados del núcleo de la válvula, reduciendo significativamente la resistencia rotacional. Por ejemplo, durante el proceso de apertura, el medio aguas arriba fluye hacia la cámara trasera del núcleo de la válvula a través de los orificios de equilibrio, contrarrestando la diferencia de presión en el extremo frontal y permitiendo una operación más suave.
Ventajas de la presión API - válvulas de enchufe equilibrados:
- Torque de bajo funcionamiento, haciéndolo adecuado para operaciones frecuentes de apertura y cierre;
- Rendimiento de sellado estable, manteniendo un sellado confiable incluso bajo condiciones diferenciales de presión - de presión;
- Vida útil extendida, ya que la estructura equilibrada reduce el desgaste en las superficies de sellado.
Especificación de válvula de enchufe equilibrada de presión API
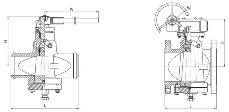
Rango de tamaño:Nps1/2 "~ 40"
Presión:Clase150 ~ 2500
Material del cuerpo:A105, WCB, LCB, WCC, CF8, CF8M, CF3, CF3M, A 890 4 a, etc.
Operación:Palanca, caja de engranajes, electricidad, neumática, hidráulica, etc.
Parámetros técnicos

150 lb
| Tamaño | mm | 15 | 20 | 25 | 32 | 40 | 50 | 65 | 80 | 100 | 125 | 150 | 200 | 250 | 300 | 350 |
| en | 1/2 | 3/4 | 1 | 11/4 | 11/2 | 2 | 21/2 | 3 | 4 | 5 | 6 | 8 | 10 | 12 | 14 | |
| L | 108 | 117 | 127 | 140 | 165 | 178 | 190 | 203 | 229 | 254 | 267 | 292 | 330 | 356 | 381 | |
| H | 180 | 180 | 185 | 200 | 214 | 215 | 250 | 270 | 300 | 340 | 365 | 400 | 450 | 510 | 590 | |
| W | 400 | 400 | 500 | 500 | 600 | 600 | 820 | 820 | 300 | 300 | 320 | 320 | 350 | 380 | 380 | |
300 lb
| Tamaño | mm | 15 | 20 | 25 | 32 | 40 | 50 | 65 | 80 | 100 | 125 | 150 | 200 | 250 | 300 | 350 |
| en | 1/2 | 3/4 | 1 | 11/4 | 11/2 | 2 | 21/2 | 3 | 4 | 5 | 6 | 8 | 10 | 12 | 14 | |
| L | 140 | 152 | 165 | 178 | 190 | 216 | 241 | 283 | 305 | 381 | 403 | 419 | 457 | 502 | 762 | |
| H | 180 | 180 | 185 | 200 | 210 | 215 | 250 | 270 | 300 | 340 | 365 | 400 | 450 | 510 | 590 | |
| W | 400 | 400 | 500 | 600 | 600 | 820 | 1000 | 1000 | 300 | 300 | 320 | 320 | 350 | 380 | 380 | |
600 lb
| Tamaño | mm | 15 | 20 | 25 | 32 | 40 | 50 | 65 | 80 | 100 | 125 | 150 | 200 | 250 | 300 | 350 |
| en | 1/2 | 3/4 | 1 | 11/4 | 11/2 | 2 | 21/2 | 3 | 4 | 5 | 6 | 8 | 10 | 12 | 14 | |
| L | 165 | 190 | 216 | 229 | 241 | 292 | 330 | 356 | 432 | 508 | 559 | 660 | 787 | 838 | 889 | |
| H | 180 | 180 | 185 | 200 | 210 | 215 | 250 | 270 | 300 | 340 | 365 | 400 | 450 | 510 | 590 | |
| W | 400 | 400 | 500 | 500 | 600 | 600 | 820 | 820 | 300 | 300 | 320 | 320 | 350 | 380 | 380 | |
900 lb
| Tamaño | mm | 15 | 20 | 25 | 32 | 40 | 50 | 65 | 80 | 100 | 125 | 150 | 200 | 250 | 300 | 350 |
| en | 1/2 | 3/4 | 1 | 11/4 | 11/2 | 2 | 21/2 | 3 | 4 | 5 | 6 | 8 | 10 | 12 | 14 | |
| L | 216 | 229 | 254 | 279 | 305 | 368 | 419 | 381 | 457 | 559 | 610 | 737 | 838 | 965 | 1029 | |
| H | 180 | 180 | 185 | 200 | 210 | 215 | 250 | 270 | 300 | 340 | 365 | 400 | 450 | 510 | 590 | |
| W | 400 | 400 | 500 | 600 | 600 | 820 | 1000 | 1000 | 300 | 300 | 320 | 320 | 350 | 380 | 380 | |
API Presión - Válvula de enchufe equilibrada para la venta



Contáctenos paraVálvula de enchufe equilibrada de presión API: sale@gneetube.com
Etiqueta: Válvula de enchufe de balance de presión de la API, fabricantes de válvulas de válvula de balance de presión de la API de China, proveedores, fábrica, válvula de enchufe de acetato de celulosa, Válvulas de enchufe de gas, válvula de enchufe de PVDF, válvula de enchufe del tallo ascendente, válvula de enchufe de chaqueta de vapor, válvula de enchufe de agua residual


